Meterai habuk hidraulik adalah salah satu produk pengedap yang boleh dihasilkan oleh Ruichen Seals. Anda boleh belajar tentang model yang berbeza dalam jenis produk ini dan juga boleh membuat kombinasi struktur. Jika perlu, anda juga boleh menghubungi kami untuk mendapatkan bantuan atau penyelesaian yang disesuaikan, atau hubungi kami untuk mendapatkan buku sampel.
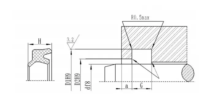
RCF01 dan RCF02 adalah meterai debu dua hala yang terdiri daripada cincin meterai debu dua bibir yang dipenuhi dengan bahan PTFE anti-wear dan cincin getah berbentuk O. O-ring menyediakan kuasa preload untuk mengimbangi memakai cincin PTFE. RCF01 sesuai untuk majlis-majlis tugas berat, seperti persekitaran berdebu atau sejuk dan gerakan reciprocating frekuensi tinggi. Alur split harus digunakan untuk diameter aci kurang dari 30mm. RCF02 sesuai untuk pergerakan gerakan, swing atau gerakan lingkaran.
RCF03 adalah cincin debu sehala yang terdiri daripada cincin pengikis debu tunggal bibir yang dipenuhi dengan bahan PTFE dan cincin getah berbentuk O. Fungsinya adalah untuk mengikis debu dan mencegah sistem daripada tercemar. Ia sesuai untuk pergerakan gerakan, berayun atau gerakan lingkaran.
RCF04 dan RCF05 adalah cincin debu dua bibir yang terdiri daripada cincin berbentuk khas dengan bibir pengedap dan bibir debu dan dua cincin O sebagai elemen preload, yang digunakan untuk meningkatkan pengedap keseluruhan. Ia mempunyai ciri -ciri kehidupan yang panjang, geseran rendah, tidak ada kelikatan, dan kebolehpercayaan yang tinggi. RCF04 terutamanya digunakan dalam jentera pertanian, penekan hidraulik, mesin pengacuan suntikan, sistem kawalan hidraulik, forklift, mesin rolling, kren, dan pemuatan dan pemunggahan jentera. RCF05 terutamanya digunakan dalam penekan hidraulik, mesin pencetakan suntikan, mesin rolling, jentera metalurgi, dan lain-lain. Ia amat sesuai untuk meterai debu rod omboh diameter besar.
Cincin debu DHS adalah cincin debu dwi-fungsi, yang mempunyai kesan debu yang baik dan fungsi filem pengedap minyak tertentu. Bahan-bahan ini adalah poliuretana berprestasi tinggi, getah nitril, dan fluororubber.
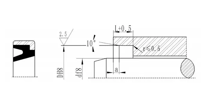
Berbentuk J dan berbentuk JA digunakan untuk rod omboh silinder hidraulik atau batang injap hidraulik untuk mengikis debu. Bahan -bahan adalah poliuretana (TPU/CPU) dan getah. Alur dan dimensi produk dan toleransi mematuhi JB/T6657-93 dan JB/T6656-93.
GSM cincin habuk digunakan untuk mencegah pencemaran luaran daripada mencampurkan ke dalam sistem hidraulik dan sistem pengedap, dan boleh mengembalikan minyak hidraulik ke sistem pelinciran tanpa bocor ke luar, yang mempunyai kesan pengedap tambahan. Bahan -bahan ini adalah getah nitril, fluororubber, dan poliuretana.
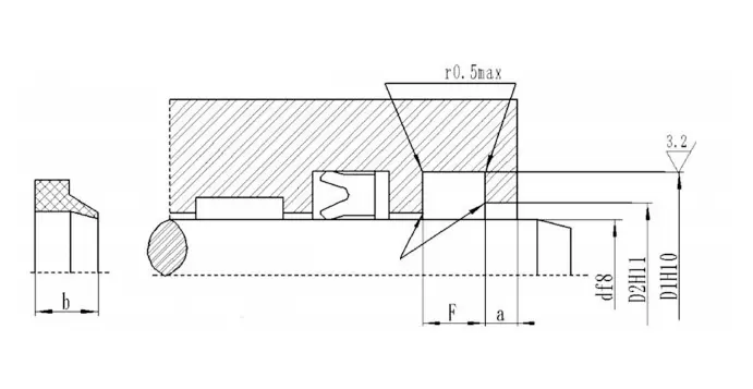
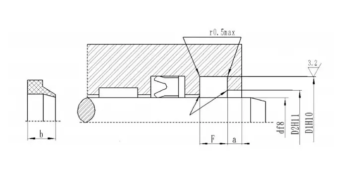
Cincin habuk gp1 dan gp6 digunakan untuk mencegah pencemaran daripada mencampurkan ke dalam sistem hidraulik dan sistem pengedap. Bahan ini adalah NBR getah nitril, dan FLEORORUBBER FKM dipilih pada suhu tinggi. GP6 terutamanya digunakan untuk pengedap debu rod omboh diameter besar.
Cincin habuk jenis AF digunakan untuk mengelakkan habuk, kotoran, pasir, dan cip logam daripada memasuki silinder hidraulik. Kurangkan risiko calar yang disebabkan oleh bahan pencemar luar yang tertanam dalam elemen gelongsor. Kesan dustproof yang sangat baik dapat dicapai melalui reka bentuk khas bibir cincin debu. Cincin ini mempunyai ciri -ciri rintangan haus yang kuat, ubah bentuk kekal kecil, dan ketahanan terhadap kesan mekanikal luaran. Cincin debu boleh dipasang dengan tegas di kedudukan yang sesuai dengan alur terbuka paksi dengan menggunakan gangguan yang sesuai antara diameter luar alur pengedap dan logam. Sesuai adalah siram, jadi bibir sangat melindungi terhadap kerosakan yang disebabkan oleh sebab -sebab luaran. Dari perspektif kejuruteraan, cincin debu jenis AF adalah peranti pengedap kepala silinder yang sesuai.
Ciri dan aplikasi produk:
Contoh pesanan:
Model pesanan RCF01-80-PTFE3-R01
RCF01-Model 80-Shaft Diameter PTFE3-Agung Modified PTFE R01-Pencocokan Kod Bahan Getah
Nitrile Rubber (NBR)-R01 Fluororubber (FKM) -R02
Model pesanan RCF02-80-PTFE3-R01
RCF02-Model 80-Shaft Diameter PTFE3-Universal Modified PTFE R01-Pencocokan Kod Bahan Getah
Nitrile Rubber (NBR)-R01 Fluororubber (FKM) -R02
Model pesanan RCF03-80-PTFE3-R01
RCF03-Model 80-Shaft Diameter PTFE3-Universal Modified PTFE R01-Matching Code Bahan
Nitrile Rubber (NBR)-R01 Fluororubber (FKM) -R02
Model pesanan RCF04-80-PTFE3-R01
RCF04-Model 80-Shaft Diameter PTFE3-Universal Modified PTFE R01-Pencocokan Kod Bahan Getah
Nitrile Rubber (NBR) -R01 Fluororubber (FKM) -R02
Model pesanan RCF05-80-PTFE3-R01
RCF05-Model 80-Shaft Diameter PTFE3-Agung Modified PTFE RO1-Pencocokan Kod Bahan Getah
Nitrile Rubber (NBR) -R01 Fluororubber (FKM) -R02
Model Pesanan: DHS-130*143*8/9.5-R01 D*D1*g/h
J-Type Debu Seal
Meterai habuk jenis ja
GSM
GSM meterai habuk ditandakan dengan nombor pesanan, contohnya: GSM4048 40-Shaft Diameter D 48-Groove Bottom Diameter D
Gp1
Contoh menandakan: gp1-70*82*4/8 Model-d*d*l/h
Gp6
Kaedah menandakan: gp6-70*80.6*5.3/7 Model-d*d*l/h
Dari
DKB
Spesifikasi
RCF01| Julat diameter aci d f8 |
Diameter alur D H9 |
Lebar alur L+0.2 |
Buka diameter lubang D1H11 | Lebar lubang terbuka a≥ |
Sudut bulat R≤ |
O-ring diameter dawai dO |
| 19 ~ 39 | D+7.6 | 4.2 | D+1.5 | 3 | 0.8 | 2.65 |
| 40 ~ 69 | D+8.8 | 6.3 | D+1.5 | 3 | 0.8 | 2.65 |
| 70 ~ 139 | D+12.2 | 8.1 | D+2.0 | 4 | 0.8 | 3.55 |
| 140 ~ 399 | D+16.0 | 9.5 | D+2.5 | 5 | 1.5 | 5.30 |
| 400 ~ 649 | D+24.0 | 14.0 | D+2.5 | 8 | 1.5 | 7.00 |
| 650 ~ 1500 | D+27.3 | 16.0 | D+2.5 | 10 | 2.0 | 8.60 |
| Julat diameter aci d f8 |
Diameter alur D H9 |
Lebar alur L+0.2 |
Buka diameter lubang D1H11 | Lebar lubang terbuka a≥ |
Sudut bulat R≤ |
O-ring diameter dawai dO |
| 4 ~ 11 | D+4.8 | 3.7 | D+1.5 | 2 | 0.4 | 1.80 |
| 12 ~ 64 | D+6.8 | 5.0 | D+1.5 | 2 | 0.7 | 2.65 |
| 65 ~ 250 | D+8.8 | 6.0 | D+1.5 | 3 | 1.0 | 3.55 |
| 251 ~ 420 | D+12.2 | 8.4 | D+2.0 | 4 | 1.5 | 5.30 |
| 421 ~ 650 | D+16.0 | 11.0 | D+2.0 | 4 | 1.5 | 7.00 |
| 651 ~ 1500 | D+20.0 | 14.0 | D+2.5 | 5 | 2.0 | 8.60 |
| Julat diameter aci d f8 |
Diameter alur DH9 |
Diameter langkah D1 H11 |
Lebar alur L+0.2 |
Lebar keseluruhan L1 |
Sudut bulat Rmax |
Panjang chamfer Zmin |
| 20 ~ 39.9 | D+7.6 | D+1 | 4.2 | 8.2 | 0.4 | 3 |
| 40 ~ 69.9 | D+8.8 | D+1.5 | 6.3 | 10.3 | 1.2 | 4 |
| 70 ~ 139.9 | D+12.2 | D+2.0 | 8.1 | 12.1 | 2 | 6 |
| 140 ~ 399.9 | D+16.0 | D+2.0 | 11.5 | 15.5 | 2 | 8 |
| 400 ~ 649.9 | D+24.0 | D+2.5 | 15.5 | 19.5 | 2 | 10 |
| 650 ~ 1000 | D+27.3 | D+2.5 | 18.0 | 23.0 | 2 | 12 |
| Julat diameter aci d f8 |
Diameter alur DH9 |
Diameter langkah D1 H11 |
Lebar alur L+0.2 |
Lebar sampingan L1 |
Sudut bulat Rmax |
Panjang chamfer Zmin |
| 100 ~ 229 | D+22.2 | D+10.7 | 6.3 | 4.2 | 1.2 | 6 |
| 230 ~ 299 | D+24.2 | D+10.7 | 6.3 | 4.2 | 1.2 | 8 |
| 300 ~ 629 | D+33.0 | D+15.1 | 8.1 | 6.3 | 1.2 | 10 |
| 630 ~ 1000 | D+36.5 | D+15.1 | 9.5 | 6.3 | 2 | 12 |
| Nombor produk | d | D1 | H | G+0.3 | D2 | a |
| DHS 12 | 12 | 20 | 6 | 5 | 16.3 | 2 |
| DHS 14 | 14 | 22 | 6 | 5 | 18.3 | 2 |
| DHS 16 | 16 | 24 | 6 | 5 | 20.3 | 2 |
| DHS 18 | 18 | 26 | 6 | 5 | 22.3 | 2 |
| DHS 20 | 20 | 28 | 6 | 5 | 24.3 | 2 |
| DHS 22 | 22 | 30 | 6 | 5 | 26.3 | 2 |
| DHS 25 | 25 | 33 | 6 | 5 | 29.3 | 2 |
| DHS 28 | 28 | 36 | 6 | 5 | 32.3 | 2 |
| DHS 30 | 30 | 38 | 6.5 | 6 | 34 | 2 |
| DHS 32 | 32 | 40 | 6.5 | 6 | 36 | 2 |
| DHS 35 | 35 | 43 | 6.5 | 6 | 39 | 2 |
| DHS 38 | 38 | 46 | 6.5 | 6 | 42 | 2 |
| DHS 40 | 40 | 48 | 6.5 | 6 | 44 | 2 |
| DHS 45 | 45 | 53 | 6.5 | 6 | 49 | 2 |
| DHS 48 | 48 | 56 | 6.5 | 6 | 52 | 2 |
| DHS 50 | 50 | 58 | 6.5 | 6 | 54 | 2 |
| DHS 55 | 55 | 63 | 6.5 | 6 | 59 | 2 |
| DHS 56 | 56 | 64 | 6.5 | 6 | 60 | 2 |



























































Alamat
No.1 Ruichen Road, Taman Perindustrian Dongliuting, Daerah Chengyang, Qingdao City, Provinsi Shandong, China
Tel