Meterai hidraulik asas Ruichen Seals terutamanya termasuk beberapa jenis anjing laut, masing -masing dengan kelebihannya sendiri. O-cincin digunakan secara meluas dalam pelbagai majlis pengedap dinamik dan statik kerana kos pembuatan rendah dan penggunaan mudah. Kebanyakan negara telah merumuskan satu siri piawaian produk untuk O-ring, di antaranya Standard Amerika (AS568), Standard Jepun (JISB2401) dan Standard Antarabangsa (ISO 3601/1) adalah lebih biasa. Piawaian kebangsaan adalah GB3452.1 dan GB1235.
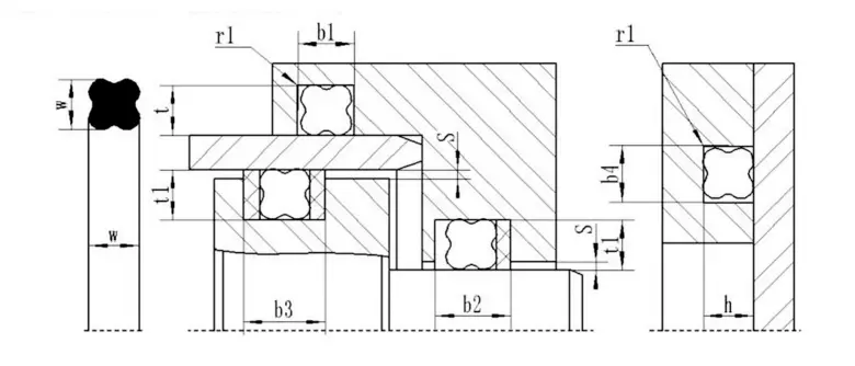
Cincin meterai berbentuk bintang adalah meterai empat bibir dengan bentuk berbentuk X, jadi ia juga dipanggil cincin berbentuk X. Ia adalah peningkatan dan peningkatan berdasarkan O-ring. Dimensi keratan rentasnya adalah sama dengan cincin O-AS sebagai standard 568a, dan ia pada dasarnya boleh menggantikan penggunaan O-ring.
Kelebihan cincin bintang
Berbanding dengan O-cincin, cincin bintang mempunyai rintangan geseran yang kurang dan rintangan permulaan yang kurang kerana mereka membentuk rongga pelincir di antara bibir pengedap. Kerana kelebihan kilatnya terletak di bahagian cekung bahagian silang, kesan pengedap lebih baik. Bahagian silang bukan bulat berkesan mengelakkan fenomena rolling semasa gerakan reciprocating.
Mekanisme kerja cincin bintang
Cincin bintang adalah elemen pengedap berlapis dua kali. Daya radial dan paksi bergantung kepada tekanan sistem. Apabila tekanan meningkat, ubah bentuk mampatan cincin bintang akan meningkat, dan jumlah daya pengedap akan meningkat, dengan itu membentuk meterai yang boleh dipercayai.
Cara memilih cincin meterai berbentuk bintang
Jika diameter aci dan lubang diketahui, pilih cincin meterai berbentuk bintang yang sesuai mengikut kriteria berikut:
1. Pengedap statik atau gerakan linear reciprocating: (1) Pengedap lubang: Diameter dalaman cincin berbentuk bintang harus bersesuaian dengan alur, atau kurang daripada 2% diameter bawah alur. Kerana daya pra-mampatan yang dihasilkan oleh pra-padanan dapat menghalang cincin meterai berbentuk bintang dari berpusing dan bergulir. (2) Pengedap aci: Diameter dalam cincin berbentuk bintang hendaklah sama dengan atau lebih besar daripada diameter luar aci dengan kira-kira 0.2 ~ 0.3mm, atau ia boleh kira-kira 1% lebih besar daripada diameter luar aci. Akibatnya, cincin meterai akan lebih mudah dipasang dan mempunyai hayat perkhidmatan yang lebih lama.
2. Pengedap Rotary: Diameter dalaman cincin berbentuk bintang hendaklah kira-kira 2 ~ 5% lebih besar daripada diameter aci yang ia meterai. Kerana cincin meterai akan menghasilkan geseran dan haba apabila digunakan dalam gerakan berputar, dan getah akan mengecut apabila dipanaskan (kesan joule). Oleh itu, untuk memastikan cincin meterai boleh dilincirkan dan berfungsi dengan pasti, cincin berbentuk bintang dengan diameter dalaman yang lebih besar daripada diameter aci mesti dipilih. Biasanya, cincin meterai dengan keratan rentas yang lebih kecil dapat memenuhi keperluan pengedap statik. Sebaliknya, cincin meterai dengan seksyen silang yang lebih besar harus dipilih untuk memenuhi meterai dinamik. Dalam kes tekanan tinggi atau jurang yang besar, bahan getah dengan kekerasan yang lebih tinggi mesti dipilih. Cara terbaik ialah menambah cincin penahan PTFE untuk mengelakkan kerosakan penyemperitan tekanan tinggi.
O-cincin bersalut secara organik menggabungkan keanjalan dan pengedap getah dengan rintangan kimia Teflon. Ia terdiri daripada silikon atau teras dalaman fluororubber dan Teflon FEP yang agak nipis atau salutan luar PFA Teflon.
Bahan: Teflon FEP dan Teflon PFA pada dasarnya sama, tetapi Teflon PFA mempunyai rintangan suhu yang lebih baik daripada Teflon FEP. Julat suhu yang berkenaan Teflon fep shell: -60 ℃ ~ 205 ℃ boleh digunakan pada 260 ℃ untuk masa yang singkat Teflon PFA shell: -60 ℃ ~ 260 ℃ boleh digunakan pada 300 ℃ untuk kelebihan masa yang singkat:
1. Rintangan kimia yang luar biasa, sesuai untuk hampir semua media kimia
2. Julat suhu yang luas
3. Rintangan mampatan yang baik
4. Anti geseran
5. Anti-Swelling yang baik
6. Rintangan Tekanan Tinggi
7. Ketahanan pengedap yang sangat baik dan hayat perkhidmatan yang panjang
Permohonan: Pam dan injap, kapal tindak balas, meterai mekanikal, penapis, kapal tekanan, penukar haba, dandang, bebibir saluran paip, pemampat gas, dll.
Industri Permohonan: Industri Kimia, Pembuatan Pesawat, Industri Farmaseutikal, Pengangkutan Minyak dan Kimia dan Penapisan, Industri Filem, Kejuruteraan Penyejuk, Industri Pemprosesan Makanan, Industri Pembuatan Paperm, Pembuatan Pewarna, Penyemburan Cat, dan lain -lain.
Arahan pemasangan untuk cincin pengedap
1. Bahagian di mana cincin pengedap dipasang atau diluluskan mestilah licin, bebas daripada burrs, alur dan sudut tajam. Kekasaran lubang dalaman harus mencapai 1.6μ dan kekasaran aci harus mencapai 0.8um.
2. Sapukan minyak ringan atau gris untuk melincirkan permukaan cincin pengedap dan bahagian -bahagian yang berkaitan.
3. Jika sukar untuk memasang cincin pengedap pada aci, tenggelamkannya dalam air panas selama beberapa minit untuk mengembangkannya. Ini melembutkan dan berkembang O-ring lebih mudah dipasang. Pasang O-ring apabila ia panas, dan saiznya akan kembali ke saiz asalnya selepas menyejukkan.
4. Jangan bengkokkan O-ring terlalu ganas, jika tidak, ia akan menyebabkan kedutan di Teflon dan mempengaruhi penggunaannya.
Mampatan yang disyorkan dari O-cincin bersalut adalah seperti berikut:
Negeri Pengedap Statik: 15%-20%
Negeri Pengedap Dinamik: 10%-12%
Keadaan pneumatik: 7%-8%
Mampatan sebenar harus mengambil kira keadaan kerja, terutama tekanan kerja pengedap dan faktor lain.
Ciri dan aplikasi produk:
| Jadual Parameter Prestasi O-Ring |
|
|
|
|
Meterai statik | Meterai dinamik |
| Tekanan kerja | Tanpa mengekalkan cincin, max 20mpa Dengan cincin penahan, max 40 mpa, cincin penahan khas 200mpa max | Tanpa mengekalkan cincin, max 5mpa Dengan cincin mengekalkan, tekanan yang lebih tinggi |
| Kelajuan | Recrocating 0.5m/s max, berputar maksimum 2m/s | |
| Suhu | Penggunaan Umum: -30 ~+110, getah khas: -60 ~+250, berputar: -30 ~+80 | |
| Medium | Lihat bahagian Bahan | |
| Standard | Diameter keratan rentas o-ring w |
|
|||||
| Standard Amerika sebagai 568 British Standard BS 1516 | 1.78 | 2.62 | 3.52 | 5.33 | 6.99 | - | |
| Standard Jepun IT B2401 | 1.9 | 2.4 | 3.1 | 3.5 | 5.7 | 8.4 | |
| Standard Antarabangsa ISO 3601/1 Standard Jerman DIN 3771/1 Standard Cina CB 3452.1 | 1.8 | 2.65 | 3.55 | 5.30 | 7.00 | - | |
| Saiz metrik yang lebih disukai | 1.0 | 1.5 | 2.0 | 2.5 | 3.0 | 3.5 | |
| 4.0 | 4.5 | 5.0 | 5.5 | 6.0 | 7.0 | ||
| 8.0 | 10.0 | 12.0 |
|
|
|
||
| Standard Amerika sebagai 568 (Siri 900) | 1.02 | 1.42 | 1.63 | 1.83 | 1.98 | 2.08 | |
| 2.21 | 2.46 | 2.95 | 3.00 |
|
|
|
|
| Pelbagai aplikasi cincin bintang sangat luas. Pilih bahan yang betul mengikut suhu, tekanan dan medium. Untuk menyesuaikan cincin bintang kepada aplikasi yang diberikan, kekangan bersama antara semua parameter kerja perlu dipertimbangkan. Apabila menentukan julat aplikasi, suhu puncak, suhu kerja berterusan dan kitaran operasi mesti dipertimbangkan. Dalam aplikasi berputar, kenaikan suhu yang disebabkan oleh haba geseran juga mesti dipertimbangkan. | |||||
| Parameter teknikal | Meterai dinamik | Meterai statik |
|
||
| Gerakan timbal balik | Gerakan putaran |
|
|||
| Tekanan kerja (MPA) | Dengan cincin penahan | 30 | 15 | 40 |
|
| Tanpa mengekalkan cincin | 5 | - | 5 |
|
|
| Kelajuan (m/s) | 0.5 | 2.0 | - |
|
|
| Suhu (℃) | Acara Umum: -30 ℃ ~+110 ℃ |
|
|||
| Bahan Khas: -60 ℃ ~+200 ℃ |
|
||||
| Acara putaran: -30 ℃ ~+80 ℃ |
|
||||
Bahan cincin bintang:
Bahan biasanya Shaw A70 Nitrile getah NBR.
O-ring bersalut:
Gambarajah skematik alur O-cincin yang terkandung
Jadual dimensi alur O-ring yang terkandung (disyorkan)
| Diameter dawai d | A (mm) | B (mm) | ||
| Meterai statik | Meterai dinamik | Meterai pneumatik | ||
| 1.78 | 2.36/2.49 | 1.42/1.52 | 1.55/1.60 | 1.63/1.65 |
| 2.62 | 3.56/3.68 | 2.08/2.21 | 2.29/2.36 | 2.39/2.44 |
| 3.53 | 4.75/4.88 | 2.82/3.00 | 3.10/3.18 | 3.22/3.28 |
| 5.33 | 7.14/7.26 | 4.27/4.52 | 4.67/4.80 | 4.90/4.95 |
| 6.99 | 9.63/9.65 | 5.59/5.89 | 6.15/6.27 | 6.43/6.48 |
Panduan pemasangan ruichen meterai ptfe meterai
Ⅰ. Panduan Pemasangan
1. Meterai mesti dipasang di sebelah yang dimuatkan, menghadap ke arah tekanan.
2. Badan silinder dan batang omboh mesti dibuat dengan chamfers push-in yang memenuhi keperluan sampel syarikat kami.
3. Tepi tajam mesti bebas daripada burrs dan bulat atau chamfered.
4. Threads, panduan alur cincin, dan lain -lain harus dilindungi, kerana meterai tidak dapat ditolak melalui alur, lubang gerudi atau permukaan kasar.
5. Mana -mana habuk, serpihan atau zarah asing lain mesti dikeluarkan dengan teliti.
6. Alat dengan tepi tajam tidak boleh digunakan.
7. Cincin pengedap PTFE lebih mudah untuk berkembang dalam minyak atau air yang dipanaskan (kira -kira 80 ~ 120 darjah) dan mudah dipulihkan ke bentuk asalnya.
8. Jika bibir meterai perlu melalui lubang tekanan minyak, tongkat plastik harus digunakan untuk menolak bibir dengan perlahan untuk menghalang chamfer lubang dari merosakkan bibir pengedap. Lubang -lubang silinder hendaklah dikurangkan. (Rajah 3)
Ⅱ. Kaedah pemasangan
Alur terbuka (berpecah) boleh dipasang tanpa alat.
Pemasangan meterai rod omboh alur tertutup (Rajah 1)
1. Bersih dan minyak semua substrat meterai, meterai dan alat pemasangan.
2. Letakkan cincin getah ke dalam alur (berhati -hati untuk tidak memutarnya).
3. Memampatkan cincin meterai PTFE ke dalam bentuk buah pinggang tanpa membentuk selekoh yang tajam, letakkan cincin meterai PTFE yang dimampatkan ke dalam alur, dan perlahan -lahan meratakan dengan tangan.
4. Tolak mandrel pemulihan ke meterai dan perlahan -lahan menghidupkan mandrel. Biarkan selama 1 minit dan keluarkan mandrel. Pemasangan selesai.
Pemasangan anjing laut omboh di alur tertutup (Rajah 2)
1. Bersih dan minyak semua substrat meterai, meterai dan alat pemasangan.
2. Letakkan cincin getah ke dalam alur (berhati -hati untuk tidak memutarnya).
3. Tolak cincin pengedap PTFE ke lengan panduan dan meregangkan cincin pengedap.
4. Tolak cincin pengedap yang diregangkan ke dalam alur omboh.
5. Tolak lengan pembetulan ke cincin pengedap dan putar lengan pembetulan pada masa yang sama. Keluarkan lengan pembetulan selepas meninggalkannya selama 1 minit dan pemasangan selesai.
Nota: 1. Sila rujuk syarikat kami jika produk yang dinyatakan dalam sampel syarikat kami tidak dapat dipasang di alur tertutup tetapi tidak sesuai untuk alur terbuka.
2. Pemasangan meterai PTFE di atas tidak berkenaan dengan semua meterai PTFE. Sila rujuk syarikat kami jika perlu.



























Alamat
No.1 Ruichen Road, Taman Perindustrian Dongliuting, Daerah Chengyang, Qingdao City, Provinsi Shandong, China
Tel