|
Tekanan/MPa |
Suhu / °C |
Kelajuan /m/s |
Sederhana |
|
≤40 |
-35~+100 (dengan cincin O NBR) |
≤2 |
Minyak hidraulik, emulsi, air, gas, dll. |
|
-20~+200 (dengan cincin O FKM) |
1. Bahan O-ring yang ada: R01 Nitril Butadiene Rubber (NBR), R02 Fluororubber (FKM), dsb.
2. Bahan cincin pengedap: Bahan standard PTFE3 dan PTFE4; bahan pilihan lain termasuk PTFE1, PTFE2 dan PTFE5.
Contoh Pesanan
Memesan Model RC2052—80x91×4.2—PTFE3—R01 Model-dxDxL- Kod Bahan
Memesan Model RCX17—80x91×4.2—Model HPU-dxDxL- Kod Bahan
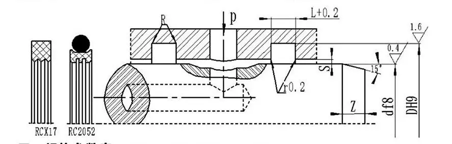
Jadual spesifikasi dan parameter (sebarang spesifikasi dalam julat parameter tersedia)
|
Julat diameter aci d f8 |
Diameter parit DH9 |
Lebar parit L+⁰.2 |
Kelegaan jejari Smax |
Bucu bulat Rmaks |
Chamfer Zmin |
|
|
0~10Mpa |
10~20Mpa |
|||||
|
6~18 |
d+49 |
2.2 |
0.15 |
0.1 |
0.4 |
2 |
|
19~37 |
d+7.5 |
3.2 |
0.2 |
0.15 |
0.6 |
3 |
|
38~199 |
d+11.0 |
4.2 |
0.25 |
0.2 |
1.0 |
4 |
|
200~255 |
d+15.5 |
6.3 |
0.3 |
0.25 |
1.3 |
5 |
|
256~649 |
d+21.0 |
8.1 |
0.3 |
0.25 |
1.8 |
7 |
|
650~1500 |
d+28.0 |
9.5 |
0.45 |
0.3 |
2.0 |
8 |
Nota: Untuk diameter aci ≤ 30mm, alur terbuka disyorkan.
|
d |
D |
L |
d |
D |
L |
d |
D |
L |
d |
D |
L |
|
8 |
12.9 |
2.2 |
48 |
59.0 |
4.2 |
150 |
161.0 |
4.2 |
350 |
371.0 |
8.1 |
|
10 |
14.9 |
2.2 |
50 |
61.0 |
4.2 |
160 |
171.0 |
4.2 |
360 |
381.0 |
8.1 |
|
12 |
16.9 |
2.2 |
55 |
66.0 |
4.2 |
170 |
181.0 |
4.2 |
370 |
391.0 |
8.1 |
|
14 |
18.9 |
2.2 |
60 |
71.0 |
4.2 |
180 |
191.0 |
4.2 |
380 |
401.0 |
8.1 |
|
15 |
19.9 |
2.2 |
63 |
74.0 |
4.2 |
190 |
201.0 |
4.2 |
390 |
411.0 |
8.1 |
|
16 |
20.9 |
2.2 |
65 |
76.0 |
4.2 |
200 |
215.5 |
6.3 |
400 |
421.0 |
8.1 |
|
18 |
22.9 |
2.2 |
70 |
81.0 |
4.2 |
210 |
225.5 |
6.3 |
420 |
441.0 |
8.1 |
|
20 |
27.5 |
3.2 |
75 |
86.0 |
4.2 |
220 |
235.5 |
6.3 |
450 |
471.0 |
8.1 |
|
22 |
29.5 |
3.2 |
80 |
91.0 |
4.2 |
230 |
245.5 |
6.3 |
480 |
501.0 |
8.1 |
|
24 |
31.5 |
3.2 |
85 |
96.0 |
4.2 |
240 |
255.5 |
6.3 |
500 |
521.0 |
8.1 |
|
25 |
32.5 |
3.2 |
90 |
101.0 |
4.2 |
250 |
265.5 |
6.3 |
520 |
541.0 |
8.1 |
|
28 |
35.5 |
3.2 |
95 |
106.0 |
4.2 |
260 |
281.0 |
8.1 |
550 |
571.0 |
8.1 |
|
30 |
37.5 |
3.2 |
100 |
111.0 |
4.2 |
270 |
291.0 |
8.1 |
600 |
621.0 |
8.1 |
|
32 |
39.5 |
3.2 |
105 |
116.0 |
4.2 |
280 |
301.0 |
8.1 |
630 |
651.0 |
8.1 |
|
35 |
42.5 |
3.2 |
110 |
121.0 |
4.2 |
290 |
311.0 |
8.1 |
650 |
678.0 |
8.1 |
|
36 |
43.5 |
3.2 |
115 |
126.0 |
4.2 |
300 |
321.0 |
8.1 |
670 |
698.0 |
9.5 |
|
38 |
49.0 |
4.2 |
120 |
131.0 |
4.2 |
310 |
331.0 |
8.1 |
700 |
728.0 |
9.5 |
|
40 |
51.0 |
4.2 |
125 |
136.0 |
4.2 |
320 |
341.0 |
8.1 |
750 |
778.0 |
9.5 |
|
42 |
53.0 |
4.2 |
130 |
141.0 |
4.2 |
330 |
351.0 |
8.1 |
800 |
828.0 |
9.5 |
|
45 |
56.0 |
4.2 |
140 |
151.0 |
4.2 |
340 |
361.0 |
8.1 |
1000 |
1028.0 |
9.5 |
Nota: Spesifikasi yang diperlukan tidak disenaraikan di sini; sila hubungi syarikat kami. Kami menawarkan produk dengan diameter maksimum 2800mm.





Arahan pemasangan dan penggunaan serba lengkap
Rui Chen tahu bahawa pemasangan yang betul adalah prasyarat pertama untuk memastikan prestasi penuh pengedap, kami juga akan memberi anda panduan komprehensif tentang penggunaan setiap produk, terutamanya bahagian tersuai yang kompleks atau tidak standard, akan ada panduan pemasangan grafik terperinci.
Panduan ini disertakan dengan gambar rajah langkah demi langkah definisi tinggi dan arahan teks yang menunjukkan dengan jelas titik pemeriksaan sebelum pemasangan, langkah pemasangan yang betul, alatan yang diperlukan dan operasi yang salah yang mesti dielakkan, seolah-olah jurutera kami berada di tapak. Di samping itu, untuk pemasangan atau sistem yang kompleks, kami mencipta tutorial video profesional yang membolehkan pengendali anda menguasai teknik pemasangan dan langkah berjaga-jaga secara intuitif dan cepat melalui demonstrasi dinamik, sekali gus mengurangkan risiko kegagalan awal akibat pemasangan yang tidak betul.
Alamat
No.1 Ruichen Road, Taman Perindustrian Dongliuting, Daerah Chengyang, Qingdao City, Provinsi Shandong, China
Tel