|
Tekanan/MPa |
Suhu / °C |
Kelajuan /m/s |
Sederhana |
|
≤40 |
-35~+100 (dengan padanan NBR O-ring) |
≤2 |
Minyak hidraulik, emulsi, air, gas, dll. |
-20~+200 (dengan padanan cincin-O FKM) |
1. Bahan O-ring yang sesuai termasuk: R01 Nitril Butadiene Rubber (NBR), R02 Fluororubber (FKM), dsb.
2. Bahan cincin pengedap: Bahan standard PTFE3 dan PTFE4; bahan pilihan lain termasuk PTFE1, PTFE2 dan PTFE5.
Ruichen telah menjalankan penyelidikan dan pembangunan bebas dan pengeluaran dari awal bahan mentah, merealisasikan kawalan keseluruhan rantaian produk.
1. Plastik kejuruteraan dan bahan komposit: Kami mengambil polytetrafluoroethylene (PTFE) sebagai teras, daripada pencampuran, pensinteran kepada pengacuan, pengeluaran bebas semua jenis tiub dan rod bahan komposit diubah suai yang diisi, dan kemudian pemprosesan ketepatan menjadi pengedap. Ini memastikan kestabilan dan kebolehsesuaian sifat bahan.
2. Elastomer poliuretana berprestasi tinggi: Kami bermula daripada tuangan prapolimer, secara bebas menghasilkan paip poliuretana berkualiti tinggi dan bahan rod, dan memprosesnya menjadi pelbagai jenis pengedap, yang cemerlang dalam rintangan haus, rintangan tekanan dan rintangan hidrolisis.
Contoh Pesanan
Memesan Model RC2054—80×69×4.2—PTFE3—R01 Model-D*d*L- Kod Bahan Model Memesan RCX18—80×69x4.2—HPU Model-D*d*L- Kod Bahan
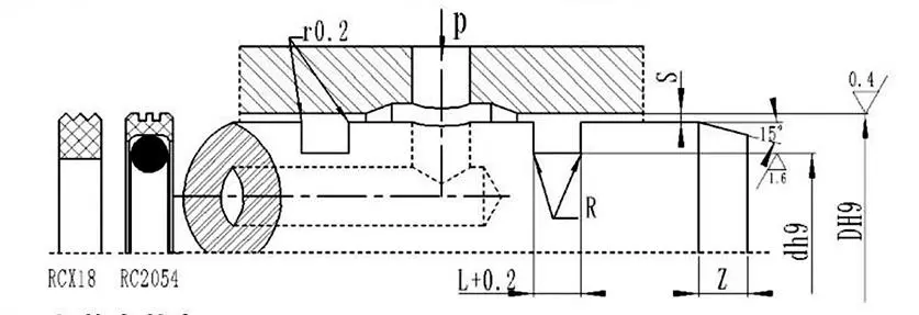
Jadual spesifikasi dan parameter (sebarang spesifikasi dalam julat parameter tersedia)
|
Julat apertur DH9 |
Diameter parit dh9 |
Lebar parit L+0.2 |
Kelegaan jejari Smax |
Bucu bulat Rmaks |
Chamfer Zmin |
|
|
0~10Mpa |
10~20Mpa |
|||||
|
8~39 |
D-4.9 |
2.2 |
0.15 |
0.1 |
0.4 |
2 |
|
40~79 |
D-7.5 |
3.2 |
0.2 |
0.15 |
0.6 |
3 |
|
80~132 |
D-11.0 |
4.2 |
0.25 |
0.2 |
1.0 |
4 |
|
133~329 |
D-15.5 |
6.3 |
0.3 |
0.25 |
1.3 |
5 |
|
330~669 |
D-21.0 |
8.1 |
0.3 |
0.25 |
1.8 |
7 |
|
670~1500 |
D-28.0 |
9.5 |
0.45 |
0.3 |
2.0 |
8 |
|
D |
d |
L |
D |
d |
L |
D |
d |
L |
D |
d |
L |
|
8 |
3.1 |
2.2 |
50 |
42.5 |
3.2 |
170 |
154.5 |
6.3 |
380 |
359.0 |
8.1 |
|
10 |
5.1 |
2.2 |
55 |
47.5 |
3.2 |
180 |
164.5 |
6.3 |
390 |
369.0 |
8.1 |
|
12 |
7.1 |
2.2 |
60 |
52.5 |
3.2 |
190 |
174.5 |
6.3 |
400 |
379.0 |
8.1 |
|
14 |
9.1 |
2.2 |
63 |
55.5 |
3.2 |
200 |
184.5 |
6.3 |
420 |
399.0 |
8.1 |
|
15 |
10.1 |
2.2 |
65 |
57.5 |
3.2 |
210 |
194.5 |
6.3 |
450 |
429.0 |
8.1 |
|
16 |
11.1 |
2.2 |
70 |
62.5 |
3.2 |
220 |
204.5 |
6.3 |
480 |
459.0 |
8.1 |
|
18 |
13.1 |
2.2 |
75 |
67.5 |
3.2 |
230 |
214.5 |
6.3 |
500 |
479.0 |
8.1 |
|
20 |
15.1 |
2.2 |
80 |
69.0 |
4.2 |
240 |
224.5 |
6.3 |
520 |
499.0 |
8.1 |
|
22 |
17.1 |
2.2 |
85 |
74.0 |
4.2 |
250 |
234.5 |
6.3 |
550 |
529.0 |
8.1 |
|
24 |
19.1 |
2.2 |
90 |
79.0 |
4.2 |
260 |
244.5 |
6.3 |
600 |
579.0 |
8.1 |
|
25 |
20.1 |
2.2 |
95 |
84.0 |
4.2 |
270 |
254.5 |
6.3 |
630 |
609.0 |
8.1 |
|
28 |
23.1 |
2.2 |
100 |
89.0 |
4.2 |
280 |
264.5 |
6.3 |
650 |
629.0 |
8.1 |
|
30 |
25.1 |
2.2 |
105 |
94.0 |
4.2 |
290 |
274.5 |
6.3 |
670 |
642.0 |
9.5 |
|
32 |
27.1 |
2.2 |
110 |
99.0 |
4.2 |
300 |
284.5 |
6.3 |
700 |
672.0 |
9.5 |
|
35 |
30.1 |
2.2 |
115 |
104.0 |
4.2 |
310 |
294.5 |
6.3 |
750 |
722.0 |
9.5 |
|
36 |
31.1 |
2.2 |
120 |
109.0 |
4.2 |
320 |
304.5 |
6.3 |
800 |
772.0 |
9.5 |
|
38 |
33.1 |
2.2 |
125 |
114.0 |
4.2 |
330 |
309.0 |
8.1 |
1000 |
972.0 |
9.5 |
|
40 |
32.5 |
3.2 |
130 |
119.0 |
4.2 |
340 |
319.0 |
8.1 |
|
|
|
|
42 |
34.5 |
3.2 |
140 |
124.5 |
6.3 |
350 |
329.0 |
8.1 |
|
|
|
|
45 |
37.5 |
3.2 |
150 |
134.5 |
6.3 |
360 |
339.0 |
8.1 |
|
|
|
|
48 |
40.5 |
3.2 |
160 |
144.5 |
6.3 |
370 |
349.0 |
8.1 |
|
|
|
Nota: Spesifikasi yang diperlukan tidak disenaraikan di sini; sila hubungi syarikat kami. Kami menawarkan produk dengan diameter maksimum 2800mm.



Alamat
No.1 Ruichen Road, Taman Perindustrian Dongliuting, Daerah Chengyang, Qingdao City, Provinsi Shandong, China
Tel