Qingdao Ruichen Sealing Technology Co., Ltd.
Qingdao Ruichen Sealing Technology Co., Ltd.
Produk
X

Cincin pengelap

Meterai habuk gabungan dua bibir yang dilancarkan oleh Ruichen Seal (pengeluar dan pembekal rod piston yang terkenal di China) terdiri daripada cincin pengedap PTFE yang diisi dan O-ring. Ia mempunyai perlindungan debu dua hala dan fungsi pampasan haus automatik, geseran yang rendah, kehidupan yang panjang dan kebolehsuaian yang kuat, dan digunakan secara meluas dalam pelbagai senario gerakan perindustrian seperti timbal balik, berayun dan lingkaran.

Prestasi dan aplikasi

Meterai pengelap gabungan dua bibir adalah meterai pengelap bidirectional yang terdiri daripada cincin penyapu dua bibir yang dipenuhi PTFE dan O-ring. O-ring menyediakan preload, mengimbangi pakai pada cincin PTFE. Ia sesuai untuk gerakan reciprocating, berayun, atau lingkaran.


Keadaan operasi

Tekanan MPA

Suhu ° C.

Kelajuan m/s

Medium

-

-35 ~+100 (Memadankan O-Ring NBR)

6

Minyak hidraulik, emulsi, air, dll.

-20 ~+200 (memadankan fkm o-ring)


Contoh pesanan

Model pesanan RCF02-80-PTFE3-R01

RCF02 - Model 80 - Diameter aci PTFE3 - PTFE RO1 yang diubahsuai umum - Kod bahan getah yang sepadan

Nitrile (NBR) - R01, Fluorocarbon (FKM) - RO2

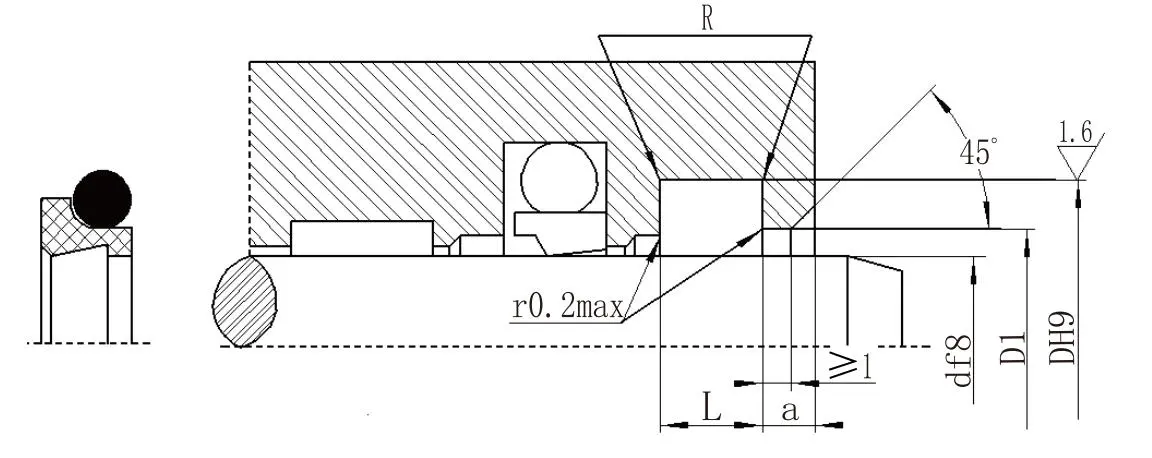
Jadual Parameter Spesifikasi (produk dari sebarang saiz dalam julat parameter boleh disediakan)

Julat diameter aci d f8

Diameter alur D H9

Lebar alur L.+0.2

Buka diameter lubang

D1H11

Lebar lubang terbuka a≥

Sudut bulat R≤

O-ring diameter dawai

d0

4 ~ 11

D+4.8

3.7

D+1.5

2

0.4

1.80

12 ~ 64

D+6.8

5.0

D+1.5

2

0.7

2.65

65 ~ 250

D+8.8

6.0

D+1.5

3

1.0

3.55

251 ~ 420

D+12.2

8.4

D+2.0

4

1.5

5.30

421 ~ 650

D+16.0

11.0

D+2.0

4

1.5

7.00

651 ~ 1500

D+20.0

14.0

D+2.5

5

2.0

8.60


Teg Panas: Cincin pengelap
Hantar Pertanyaan
Maklumat Hubungan
Dapatkan harga yang kompetitif, sokongan teknikal, dan tindak balas yang cepat. Hantar spesifikasi anda ke Ruichen untuk penyelesaian pengedap yang disesuaikan. Sampel percuma tersedia.
X
Kami menggunakan kuki untuk menawarkan anda pengalaman menyemak imbas yang lebih baik, menganalisis trafik tapak dan memperibadikan kandungan. Dengan menggunakan tapak ini, anda bersetuju dengan penggunaan kuki kami. Dasar Privasi
Tolak Terima