Qingdao Ruichen Sealing Technology Co., Ltd.
Qingdao Ruichen Sealing Technology Co., Ltd.
Produk
X

Pengedap Minyak TC

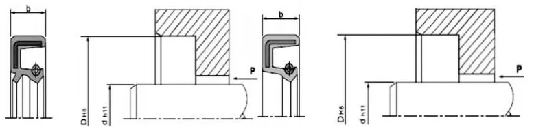
Pengedap bibir aci berputar, biasanya dikenali sebagai pengedap minyak, dipasang di dalam perumahan galas dan bergerak relatif kepada aci berputar. Rangka logam memberikan sokongan, dan spring menggunakan pramuat jejari pada bibir pengedap untuk mengelakkan kebocoran pelincir dan pencerobohan bahan cemar luaran.

Struktur dan Keperluan Pemasangan

1. Bahan Aci: Yang biasa digunakan ialah keluli karbon dan keluli tahan karat. Untuk kelajuan tinggi, penyaduran krom digunakan pada permukaan, HRC40-45.

2. Reka Bentuk Aci Berputar dan Alur: Permukaan aci hendaklah licin dan bebas burr. Tanda pemesinan lingkaran boleh mencipta kesan pengepaman, yang membawa kepada kebocoran. Adalah disyorkan bahawa kawasan pelekap pengedap minyak dikisar hingga kekasaran permukaan Ra0.1-0.5µm, menjadi lebih licin dengan peningkatan kelajuan. Untuk kemudahan pemasangan dan pembongkaran, aci dan alur mesti direka bentuk dengan chamfer atau tepi bulat Lihat Rajah 1 dan 2.

Ketinggian pengedap

b

b1(0.85xb)

mm

b2(b+0.3)

mm

r

maks.

7

5.95

7.3

0.5

8

6.80

8.3

0.5

10

8.50

10.3

0.5

12

10.30

12.3

0.7

15

12.75

15.3

0.7

20

17.00

20.3

0.7

Rajah 1. Reka bentuk talang alur


d

d3

R

<10

d-1.5

2

10~20

d-2.0

2

20~30

d-2.5

3

30~40

d-3.0

3

40~50

d-3.5

4

50~70

d-4.0

4

70~95

d-4.5

5

95~130

d-5.5

6

130~240

d-7.0

8

240~500

d-11.0

12

500~800

d-14.0

14

800~1250

d-18.0

16

Rajah 2 Reka bentuk chamfer aci berputar


Faktor yang mempengaruhi prestasi pengedap bibir aci berputar 

Terdapat berpuluh-puluh faktor yang mempengaruhi kesan pengedap. Selain pengedap minyak itu sendiri, seperti bahan dan strukturnya, faktor lain seperti sederhana, suhu, tekanan, pelinciran, kelajuan, dan kekasaran permukaan juga secara langsung mempengaruhi kesan pengedap, dan faktor-faktor ini sering berinteraksi antara satu sama lain. Carta berikut adalah untuk rujukan pengguna sahaja.

Rajah 3. Kesan suhu pada kedap minyak


Pemasangan: Pemasangan yang teliti adalah prasyarat untuk pengedap minyak berfungsi dengan baik.

Gambar rajah pemasangan (pemasangan rongga)

Kaedah pemasangan yang betul

Keadaan kerja yang berkenaan

Kaedah pemasangan yang salah

Kaedah ini hanya terpakai apabila muka hujung pengedap minyak dan muka hujung rongga disiram. Apabila peralatan menekan beroperasi dengan cepat, meterai minyak mesti diletakkan dengan betul; jika tidak, salah jajaran mungkin berlaku.

 

Reka bentuk ini sesuai untuk situasi di mana muka hujung pengedap minyak lebih rendah daripada muka hujung rongga. Walaupun dengan penekanan pantas, pengedap minyak masih boleh diletakkan dengan baik. Walau bagaimanapun, jenis lekapan ini tidak mempunyai kedudukan jejari, oleh itu keserenjang paksi plat rata dan aci tekanan peranti penekan mesti mencapai ketepatan tertentu.

Kaedah ini sesuai untuk situasi di mana muka hujung pengedap minyak lebih rendah daripada muka hujung rongga. Apabila menekan peralatan dengan cepat, adalah penting untuk memastikan pengedap minyak diletakkan dengan betul; jika tidak, salah jajaran mungkin berlaku.


 

 


Kaedah ini hanya sesuai untuk penyelenggaraan atau keadaan pemasangan mudah di mana peralatan tekanan tidak tersedia. Kerana penekanan yang benar-benar seragam tidak dapat dicapai semasa pemasangan, pelbagai masalah pemasangan tidak dapat dielakkan. Ia direka terutamanya untuk mengelakkan salah jajaran jejari semasa pemasangan, yang boleh mencacatkan kedap minyak, atau untuk mengelakkan kerosakan pada getah bahagian mengawan kedap minyak (bulatan luar) akibat jeda semasa pemasangan. Oleh itu, kaedah pemasangan ini biasanya tidak disyorkan.

 

Pengedap minyak TC/SC/TB/SB

Kedua-duanya terdiri daripada bingkai logam, spring dan badan getah. Bingkai logam memberikan sokongan, dan spring menggunakan daya jejarian pada bibir pengedap. Kedua-dua model TC dan TB mempunyai bibir tambahan kalis habuk, sesuai untuk aplikasi di mana satu bahagian mengandungi medium pengedap dan bahagian lain mengandungi habuk. Model TB/SB mempunyai bulatan luar logam, menjadikan pengedap minyak lebih selamat dan tepat di dalam rongga. Walau bagaimanapun, keupayaan pengedap bulatan luar adalah terhad untuk kelikatan rendah dan media gas; oleh itu, adalah disyorkan untuk menggunakan sealant pada bulatan luar semasa pemasangan dan penggunaan.

Bentuk keratan rentas

Model

Permohonan

Tekanan

Suhu

Kelajuan

Sederhana

bahan

TC

Pengedap, kalis habuk

0.03MPa

-30~+160

20m/s

Minyak pelincir dan gris

NBR/FKM + Keluli Karbon

SC

Pengedap

TB

Pengedap, kalis habuk

-30~+100

25m/s

Air, minyak pelincir, gris

NBR + Keluli Karbon

SB

Pengedap

Model pesanan TC-d*D*b

Spesifikasi

Spesifikasi

Spesifikasi

Spesifikasi

Spesifikasi

Spesifikasi

Spesifikasi

TC-6*17*3.5

TC-9*25*7

TC-10*30*7

TC-12*25*10

TC-13*25*7

TC-14*32*8

TC-15*30*7

TC-7*18*7

TC-10*18*7

TC-11*22*7

TC-12*26*7

TC-13*26*7

TC-14*32*10

TC-15*30*8

TC-8*18*7

TC-10*19*7

TC-I1*25*7

TC-12*28*7

TC-13*28*7

TC-14*35*7

TC-15*30*10

TC-8*20*7

TC-10*20*5

TC-11*30*10

TC-12*28*8

TC-13*30*8

TC-14*35*8

TC-15*32*7

TC-8*22*7

TC-10*20*7

TC-12*19*3

TC-12*30*7

TC-14*24*7

TC-14*40*7

TC-15*32*10

TC-8*22*8

TC-10*22*5

TC-12*20*7

TC-12*30*10

TC-14*25*7

TC-15*22*8

TC-15*35*7

TC-8*25*7

TC-10*22*7

TC-12*21*7

TC-12*32*7

TC-14*26*7

TC-15*24*7

TC-15*35*8

TC-8*25*8

TC-10*22*8

TC-12*22*5

TC-12*32*10

TC-14*27*7

TC-15*25*5

TC-15*35*10

TC-8*30*7

TC-10*22*10

TC-12*22.5*5.5

TC-12*35*7

TC-14*28*7

TC-15*25*7

TC-15*38*7

TC-9*16*5

TC-10*24*7

TC-12*22*7

TC-12*35*10

TC-14*28*8

TC-15*25*8

TC-15*38*8

TC-9*18*7

TC-10*25*5

TC-12*22*8

TC-12.7*22.22*5

TC-14*28*10

TC-15*26*7

TC-15*38*10

TC-9*19*7

TC-10*25*7

TC-12*24*6

TC-12.7*25.4*7

TC-14*29*7

TC-15*27*7

TC-15*40*8

TC-9*20*7

TC-10*25*10

TC-12*24*7

TC-12.7*26*8

TC-14*30*7

TC-15*27*8

TC-15*40*10

TC-9*22*7

TC-10*26*7

TC-12*25*7

TC-12.7*30*8

TC-14*30*10

TC-15*28*7

TC-15*42*7

TC-9*24*7

TC-10*28*7

TC-12*25*8

TC-13*23*7

TC-14*32*7

TC-15*28*10

TC-15*42*8

 




Teg Panas: Pengedap Minyak TC
Hantar Pertanyaan
Maklumat Hubungan
Dapatkan harga yang kompetitif, sokongan teknikal, dan tindak balas yang cepat. Hantar spesifikasi anda ke Ruichen untuk penyelesaian pengedap yang disesuaikan. Sampel percuma tersedia.
X
Kami menggunakan kuki untuk menawarkan anda pengalaman menyemak imbas yang lebih baik, menganalisis trafik tapak dan memperibadikan kandungan. Dengan menggunakan tapak ini, anda bersetuju dengan penggunaan kuki kami. Dasar Privasi
Tolak Terima